最近很多伙伴问我,出了险后续怎么做,现在我给大家整理一份详细的索赔流程。以备大家不时之需。
第一步:出险报案
· 何时报案: 一旦发生保险事故,应立即或在保险合同规定的时间内(通常是48小时内)通知保险公司。延迟报案可能会影响索赔。

· 如何报案:
· 电话报案: 拨打保险公司的客服热线,这是最常用、最快捷的方式。
· 线上报案: 通过保险公司的官方APP、微信公众号或官网进行在线报案。
· 通过代理人/经纪人报案: 联系为您办理保险的销售人员,协助您报案。
· 报案内容: 清晰说明保单号、被保险人姓名、出险时间、地点、原因、经过和目前状况等。
第二步:准备并提交索赔材料
这是流程中最关键的一环,材料的齐全和真实性直接关系到理赔的成功与否。
· 通用核心材料:
· 《索赔申请书》:由被保险人填写并签字。
· 保险合同(保单):原件或复印件。
· 身份证明:被保险人、受益人的有效身份证件。
· 事故证明:根据事故类型提供,如交通责任认定书(车险)、医院诊断证明(健康险)、火灾/盗窃报案证明(财产险)等。
· 根据不同险种,可能还需要:
· 健康/医疗保险: 完整的病历、医疗费用发票原件、费用明细清单、出院小结等。
· 车险: 驾驶证、行驶证、修车发票、事故现场照片/视频等。
· 寿险/重大疾病保险: 医院出具的疾病诊断证明书、相关的检查报告、病理报告等,以及死亡证明(寿险)、户籍注销证明(寿险)等。
· 财产保险: 财产损失清单、购买发票、损失物品的照片/视频等。
提交方式: 按照保险公司的指引,通过APP上传、邮寄或亲自送到服务网点。
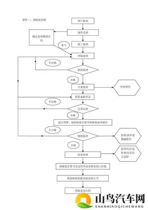
第三步:保险公司审核与查勘定损
您提交材料后,保险公司会启动审核流程。
· 材料审核: 保险公司会检查您提交的文件是否齐全、真实、有效。
· 案件调查: 对于简单案件,可能直接进入理赔计算。对于复杂、存疑或金额较大的案件,保险公司可能会派专人(如查勘员、理赔调查员)进行调查,以核实事故的真实性和原因。您需要予以配合。
· 查勘定损(主要针对车险和财产险): 保险公司的查勘员会到现场(或指定维修点)进行损失评估,确定维修或赔偿金额。
第四步:理赔决定与赔付
· 理赔计算: 保险公司根据合同条款、定损金额以及您购买的保额,计算最终的赔偿金。
· 通知结果: 保险公司会通过电话、短信或书面通知您理赔结果。
· 正常理赔: 会告知您赔偿金额及计算方式。
· 拒赔: 会出具书面《拒赔通知书》,并说明拒赔理由。
· 支付赔款: 在您同意理赔金额后,保险公司会在合同约定的时间内(通常是3-10个工作日)将赔款支付到您指定的银行账户。赔款到账,整个索赔流程即告结束。
特别注意事项
1. 及时报案是关键: 千万不要拖延,以免产生不必要的纠纷。
2. 如实告知: 无论是投保时还是索赔时,都必须如实告知,切勿隐瞒或夸大事实,否则保险公司有权拒赔甚至解除合同。
3. 妥善保管材料: 所有与事故相关的单据、证明都应妥善保管,最好多准备几份复印件。
4. 了解保险责任: 在索赔前,最好再次阅读保险合同中的“保险责任”和“责任免除”部分,确认事故是否在保障范围内。
5. 对理赔结果有异议怎么办?
· 沟通协商: 首先与保险公司的理赔部门进行沟通,了解具体原因。
· 申诉: 向保险公司的上级部门或客户服务中心投诉。
· 仲裁或诉讼: 如果协商不成,可以根据合同约定申请仲裁或向法院提起诉讼。
不同险种的索赔流程特点
· 车险: 强调现场查勘,流程标准化程度高,很多小额案件通过APP可以完成“自助理赔”。
· 医疗/健康险: 核心是医疗文书和费用票据,要注意医院的等级(是否在合同约定的范围内)和发票的原件(通常需要交给保险公司)。
· 重大疾病险: 核心是符合合同定义的诊断证明,一旦确诊,即可申请赔付,与实际医疗花费无关。
· 寿险: 需要提供死亡或全残证明,受益人关系证明等。
希望这份详细的指南能帮助您清晰地了解保险索赔流程。当不幸出险时,能从容、正确地应对。
Copyright © 2025 山鸟汽车网
网站展示的汽车及品牌信息和数据,是基于互联网大数据及品牌方的公开信息,收集整理客观呈现,仅提供参考使用,不代表网站支持观点;